aode8-db-optimizer WordPress免费的数据库优化清理插件
作者:小编日期:2025-05-29浏览:5094分类:只有源码
[color=var(--theme-color)]奥德彪[color=var(--theme-color)]数据库优化清理[color=var(--theme-color)]WordPress插件版本:1.0.0
[color=var(--theme-color)]插件简介
这款插件专为 [color=var(--theme-color)]WordPress 设计,能有效优化和清理数据库,提升网站性能。通过精简数据库,插件可减少服务器负载,加快页面加载速度,并释放[color=var(--theme-color)]存储空间。
主要功能
分析并优化所有 [color=var(--theme-color)]WordPress 数据表,回收未使用空间。
清理文章修订版本,减少数据库冗余。
删除垃圾评论和未批准评论,保持数据库整洁。
清理过期的临时数据(transients),释放缓存空间。
提供单表操作(优化、检查、修复),方便精细管理。
直观展示数据库状态(大小、表数量、碎片信息)。
清晰显示各数据表的用途说明(通过 "备注" 列)。
安装与使用
安装
将插件文件上传至wp-content/plugins/目录。
在 [color=var(--theme-color)]WordPress 后台激活插件。
访问插件
登录 WordPress 后台,点击左侧菜单中的 "数据库优化"(带有数据库图标)。
执行优化
在优化页面选择需要执行的操作(如优化表、清理修订版本等)。
点击 "开始优化" 按钮,等待处理完成。
查看详细的优化结果报告。
单表操作
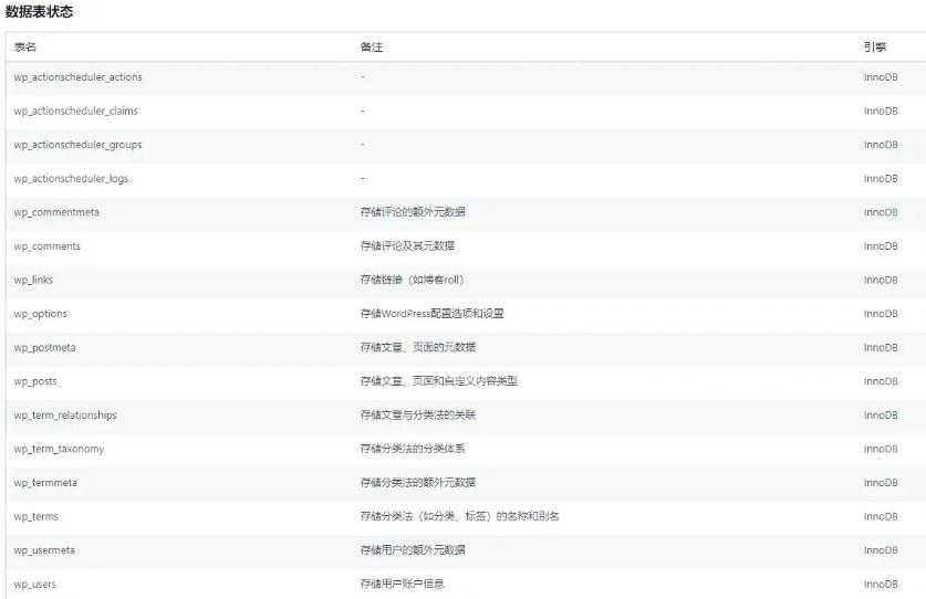
在 "数据表状态" 区域,可对单个表执行优化、检查或修复操作。
数据表备注说明插件在数据表状态中新增了 "备注" 列,显示各表的主要用途,例如:
wp_posts:[color=var(--theme-color)]存储文章、页面和自定义内容类型。
wp_comments:存储评论及其元数据。
wp_options:存储 WordPress 配置选项和设置。
wp_postmeta:存储文章、页面的额外元数据。
wp_terms:存储分类法(如分类、[color=var(--theme-color)]标签)的名称和别名。
注意事项
建议在执行优化前备份数据库,以防[color=var(--theme-color)]数据丢失。
优化操作可能需要一些时间,具体取决于数据库大小。
清理修订版本和评论将永久删除数据,请谨慎操作。
插件支持 WordPress 多站点环境,可安全用于网络站点。
下载地址:https://xiaok.lanzoum.com/iEJ5J2xer4sj
相关文章
- 04-23 游戏攻略新闻资讯主题模板源码 YK一点资讯模版 Zblog主题模版
- 04-23 Z-BlogPHP海盗导航主题模板zblog5_nav
- 04-21 EMLOG程序 炫酷的CYP音乐主题模板
- 04-21 Emlog资源网娱乐网主题模板最新付费模板带会员
- 04-21 全新资源网/教程网/下载站网站Emlog主题模板源码
- 04-21 Simply简洁博客主题源码 | EmlogPro主题模版
- 04-21 精仿某资源网Emlog主题开源模板-全网首发
- 04-07 帝国CMS下载站文章图片视频商城淘宝客整站源码模板自适应响应式
- 04-07 阿里巴巴国际站支持wordpress商品浏览器采集插件
- 03-29 新版黄金价格监控源码(K线图模块,黄金舆情模块,AI智能客服)
- 03-29 APK免杀系统源码+搭建教程
- 03-29 老司机瀑布流壁纸源码
取消回复欢迎你发表评论:
- 协助本站优化一下
- 最近发表
- 1限时开放微信福利群聊 定时发放实物等福利
- 2【帧映4K】2.0.0 超多4K影视资源免费看
- 3手机桌面宠物V1.0.0 手机桌面宠物App
- 4【音动音乐】2.5.1 海量热门音乐免费听 解锁VIP
- 5天天剧场V2.1.0 免费的掌上追剧神器
- 6ClevCalc万能计算器app v2.24.12 破解版
- 7ClevNote手机备忘录 v2.24.17 破解版
- 8AVG Cleaner垃圾清理app v26.06.0 破解版
- 9Bandizip压缩软件 v7.42 / v8.0 Beta16中文破解版
- 10游戏攻略新闻资讯主题模板源码 YK一点资讯模版 Zblog主题模版
- 11Z-BlogPHP海盗导航主题模板zblog5_nav
- 12【眼福】网红小希裸拍鸳鸯戏舞蹈小庚网专属福利
- 13【全本免费小说】6.0.0 正版小说资源免费看 解锁VIP
- 14【23影视】3.5.8 最新版追剧神器 免费超清
- 15蓝图影视V4.5.0 提供海量热门资源
Copyright© XGW9.COM版权所有〖小庚资源网〗
〖恒创科技〗为本站提供专业云计算服务
本站发布的内容来源于互联网,如果有侵权内容,请联系我们删除!E-mail:xgzyw6@outlook.com
关于我们|我要投稿|免责声明|XML地图











暂无评论,来添加一个吧。